AUM 13 nástěnná vestavná automatická baterie se směšovacím nebo termostatickým ventilem
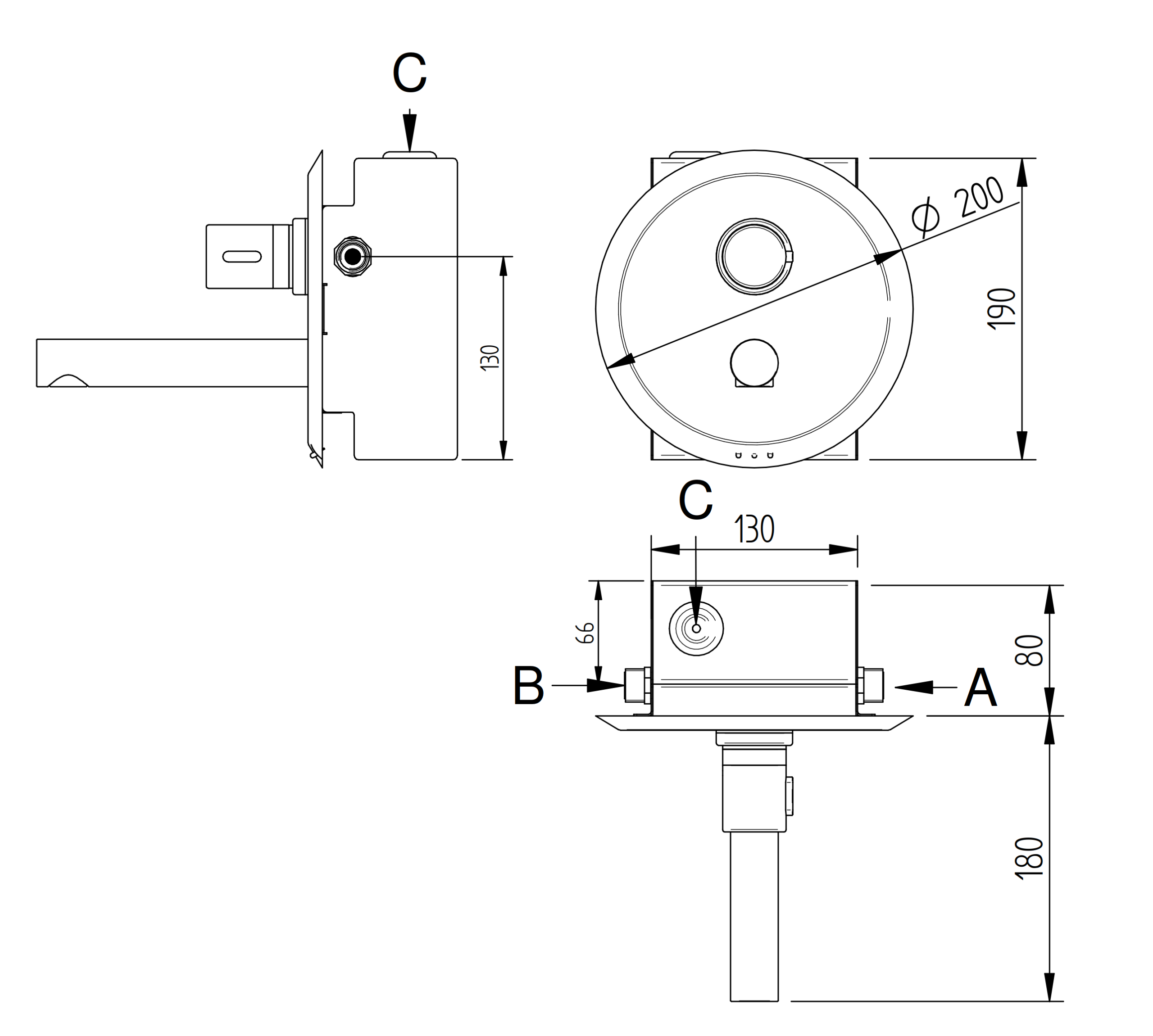
AUM 13 jsou designové automatické baterie pro vestavění do zdi. Po vložení rukou do zóny snímání dojde ke spuštění vody, která teče ještě nastavený čas po vyjmutí rukou (doba doběhu na oplach umyvadla). Baterie jsou dodávány v provedení se směšovacím ventilem AUM 13.2 nebo s termostatickým ventilem AUM 13.TV. Vzdálenost montážní krabice vůči čelnímu panelu je nastavitelná.
Čelní panely baterií jsou vyrobeny z nerezu AISI 304. Povrchová úprava je lesk.
Kompletní dodávka
- elektronika se senzory
- elektromagnetický ventil
- montážní krabice se šroubením, kulovým ventilem, hadicemi
- nerezový kryt s ramínkem
- směšovací ventil (AUM 13.2)
- termostatický ventil (AUM 13.TV)
| dosah čidla | automaticky | 
| přívod vody | G 1/2“ | 
| tlak vody | 0,1 - 1,0 MPa | 
| čas doběhu | 0-4 s (nastavena 1s) | 
| el. napájení | 12 V, 50 Hz | 
| příkon | 6 VA | 
| napájecí zdroj | ZAC 1/20 (max. 3x AUM 13) | 
| ZAC 1/50 (max. 8x AUM 13) | |
| ZAC 1/36L (max. 6x AUM 13) | 
- Připraven přívod vody dle schematu.
- Připraven napájecí kabel pro přívod napětí 12 V, 50 Hz ze zdroje ZAC.
- Připravena nika pro instalaci montážní krabice (+ následné obložení obklady).
AUM 13.2

AUM 13.TV

- A – přívod studené vody G 1/2"
- B – přívod teplé vody G 1/2"
- C – přívod elektřiny 12 V, 50 Hz ze zdroje ZAC
- E – zóna snímání

 
       
      